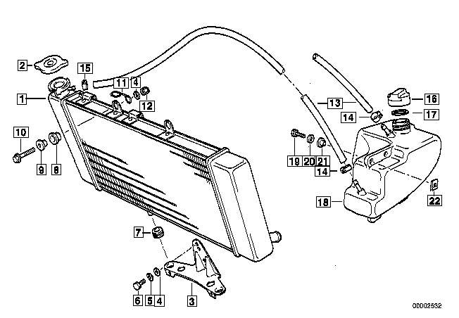
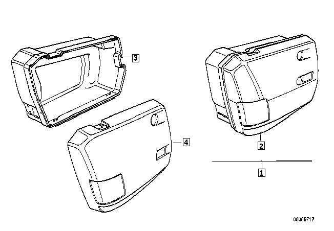
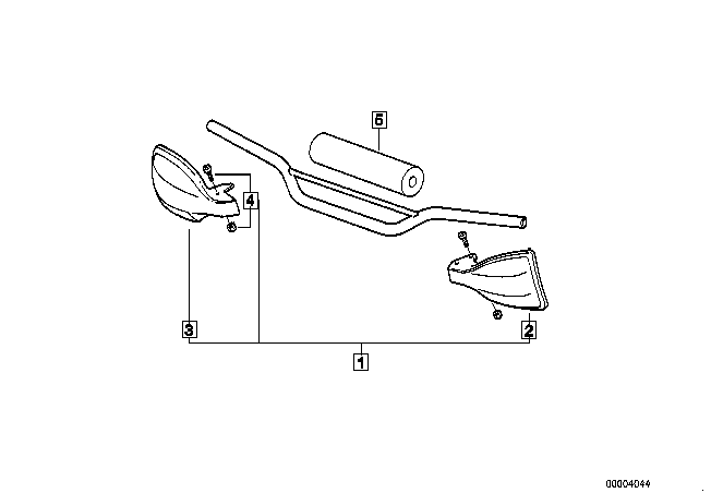
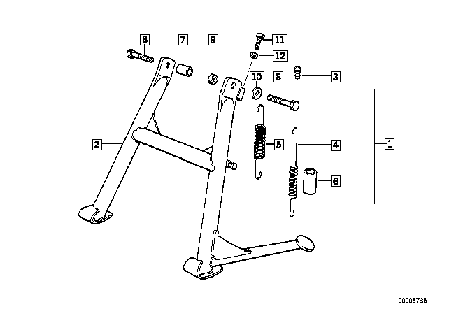
F650 Parts book